1206-0408-00-00
Coude 90° accès extérieur
- Protection IP54
 - Insertion directe et continue des câbles
 - Très stable
 
Description du produit
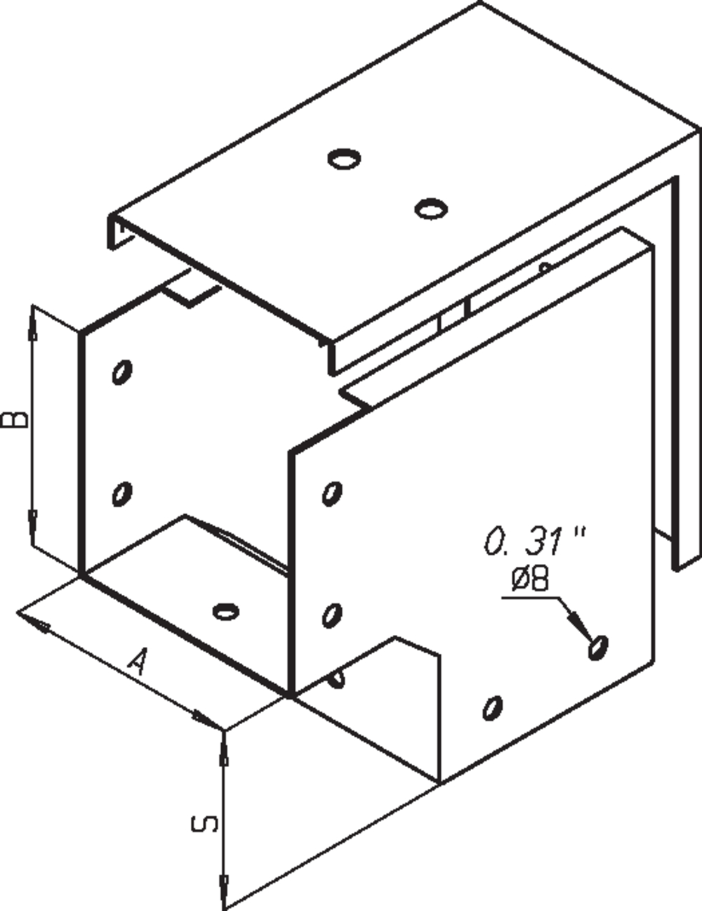
Caniveau à câbles avec goujons M6 pour la liaison équipotentielle.
Avec couvercle et cages tournantes en acier livrés non montés.
Le cordon de sécurité pour la fixation du couvercle au caniveau ainsi que le câble de mise à la terre sont à commander séparément.
Tous les joints d’étanchéité sont en matière résistant à l‘huile.
Caractéristiques techniques
- 
                                        Référence: 1206-0408-00-00
 - 
                                        Variante: sans bride
 - 
                                        Matériau: Tôle d’acier
 
Remarque
- Le raccordement à d’autres pièces usinées s’effectue par un raccord en U.Les longueurs AxB sont des dimensions intérieures des caniveaux.
 
- 1 coude avec couvercle
 - Joint autocollant d’un côté 12x4 mm et fermetures à cage tournante sont inclus non montés
 
                    
                        Contact
                    
                
            
            
    
            
                
    
        
            Trouvez votre interlocuteur personnel
        
    
            
        
            
                
    
        Nous sommes à votre disposition
    
            
        Les armoires électriques et les boîtiers optimaux ne sont pas créés à la chaîne, mais en discutant avec vous. Vous êtes prêt ?
Alors, parlez-en tout de suite à votre conseiller personnel häwa.