
1206-0302-00-00
Coude 90° accès intérieur
- Protection IP54
- Insertion directe et continue des câbles
- Très stable
Description du produit
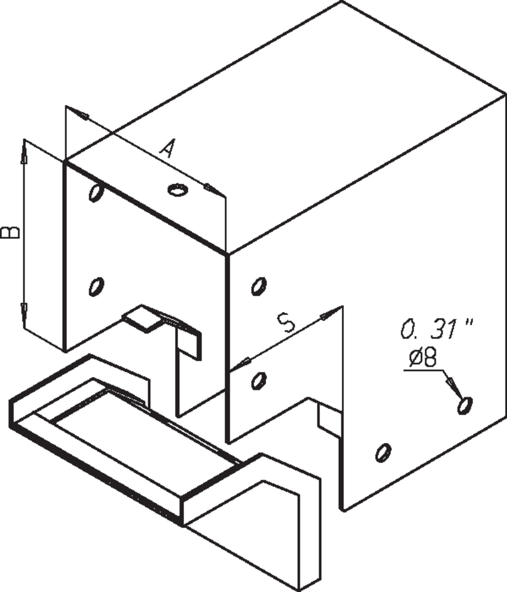
Caniveau à câbles avec goujons M6 pour la liaison équipotentielle.
Avec couvercle et cages tournantes en acier livrés non montés.
Le cordon de sécurité pour la fixation du couvercle au caniveau ainsi que le câble de mise à la terre sont à commander séparément.
Tous les joints d’étanchéité sont en matière résistant à l‘huile.
Caractéristiques techniques
-
Référence: 1206-0302-00-00
-
Variante: sans bride
-
Matériau: Tôle d’acier
Remarque
- Le raccordement à d’autres pièces usinées s’effectue par un raccord en U.Les longueurs AxB sont des dimensions intérieures des caniveaux.
- 1 coude avec couvercle
- Joint autocollant d’un côté 12 x 4 mm et fermetures à cage tournante sont inclus, non montés
Contact
Trouvez votre interlocuteur personnel
Nous sommes à votre disposition
Les armoires électriques et les boîtiers optimaux ne sont pas créés à la chaîne, mais en discutant avec vous. Vous êtes prêt ?
Alors, parlez-en tout de suite à votre conseiller personnel häwa.

