 
                            3186-0150-02-24
Chauffage semi-conducteur CS avec conducteur à froid PTC
- Faible encombrement
- Assure des températures minimum
- Évite la formation de condensat
- Avantages des appareils avec technique PTC : chauffage dynamique, limitation de la température, grande plage de tensions
Description du produit
Les chauffages servent à chauffer l'air à l'intérieur de l'armoire. En cas de basse température et de taux d'humidité élevé à l'intérieur de l'armoire, la condensation peut affecter la sécurité de fonctionnement et les systèmes de commutation électriques et électroniques - häwa offre comme solution fiable des systèmes de chauffage, ayant un rendement de 10 W à 1200 W, permettant également d'assurer des températures minimum et le contrôle hors-gel.
Le type de construction du chauffage entraîne une bonne convection naturelle permettant ainsi d’obtenir un très bon flux d’air chaud.
Le coffret en matière plastique est conçu de telle manière que les températures à la surface des parois latérales puissent être tenues très basses.
Élément de chauffage : conducteur à froid (PTC) avec limitation de la température.
Les chauffages sont conçus pour un fonctionnement continu.
Montage rapide à fixation par clips sur rails de 35 mm.
Caractéristiques techniques
- 
                                        Référence: 3186-0150-02-24
- 
                                        Indice de protection: IP20
- 
                                        Classe de protection: II (isolation de protection)
- 
                                        Température d"utilisation/stockage: de : -45 °C à : +70 °C
- 
                                        Humidité d'utilisation/de stockage: 90% maxi. HR (non condensant)
- 
                                        Température de surface: à une température ambiante de 20 °C (sauf la surface de grille supérieure) : <+80° C
- 
                                        Température de sortie de l'air: 145 °C
- 
                                        Rendement du chauffage: 150 W
- 
                                        Montage: fixation par clips
- 
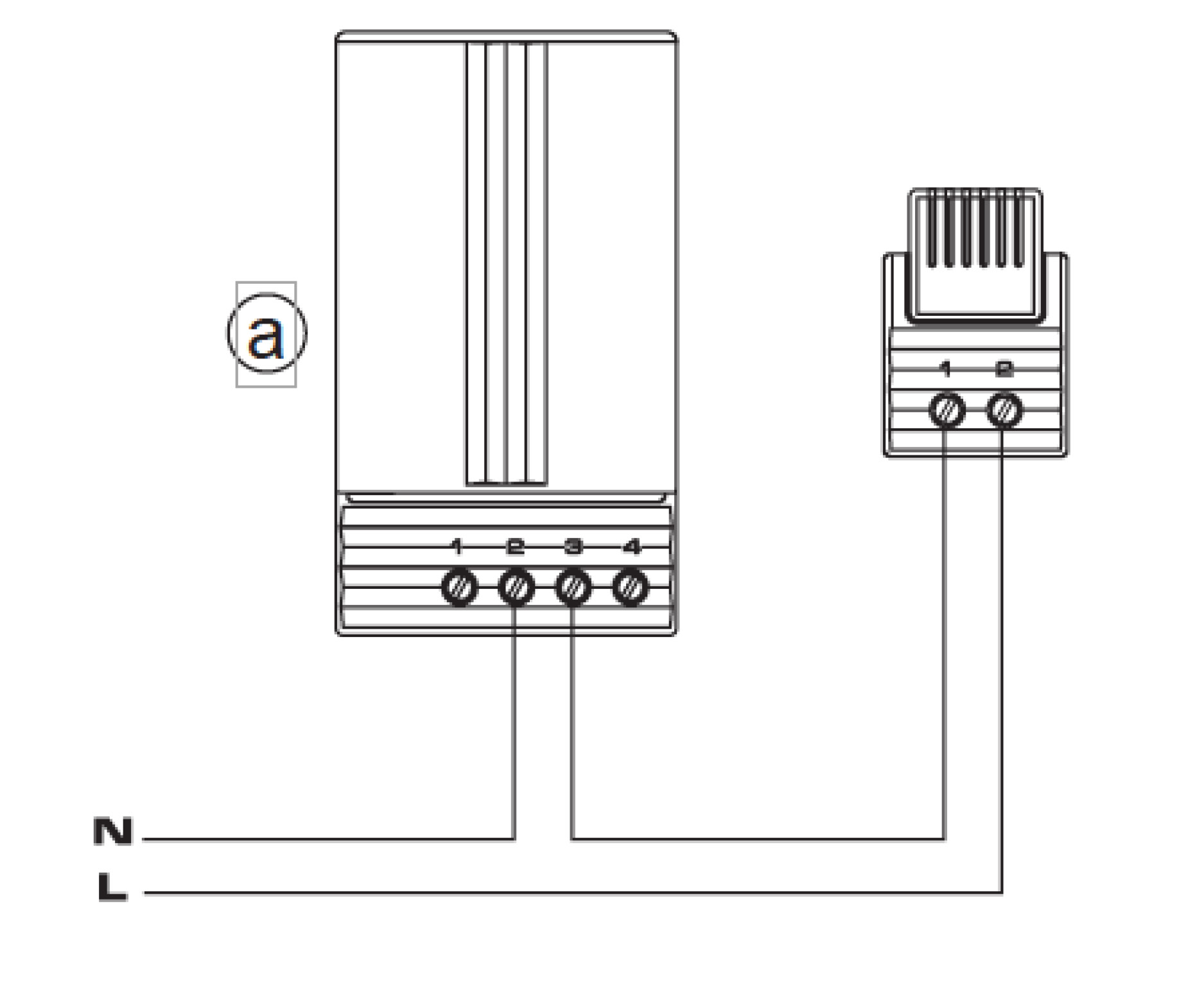
                                        Branchement électrique: borne à 4 broches 2,5 mm², couple de serrage maxi. 0,8 Nm maxi.
- 
                                        Élément de chauffage: conducteur à froid PTC avec limitation de la température
- 
                                        Courant de démarrage: 16 A
- 
                                        Fusible: 10 A (à action retardée)
- 
                                        Agrément: CE
- 
                                        Poids: 0.5 kg
- 
                                        Dimension: Largeur : 60 mm Épaisseur : 150 mm Profondeur : 90 mm
- 
                                        Finition: coffret : plastique noir, UL94 V-0
- 
                                        Tension nominale: 24 V DC
- 
                                        Position de montage: sens du débit d’air vertical (sortie d’air en haut/raccordement en bas)
- 
                                        Type: CS 150
Remarque
- Le fonctionnement des chauffages PTC avec un courant AC/DC de 140 V réduit le rendement de chauffage de 10% env.
- Le rendement de chauffage indique se réfère à une température ambiante de 20 °C.
- Respectez une distance de sécurité de 50 à 100 mm aux composants voisins (en fonction du manuel de mise en service).
- 1 appareil de chauffage
 
                    
            Régulateur de température
 
                    
            Hygrotherme électronique ETF012
- 3186-0150-02-24 - dxf
- 3186-0150-02-24 - step
- 3186-0150-02-24 - pdf
- Résistance chauffante CS Schémas 3 - jpeg
- Résistance chauffante CS Schémas 2 - jpeg
- Résistance chauffante CS Schémas1 - jpeg
- Résistance chauffante CS Performance: Puissance de chauffage / Température ambiante - jpeg
- Résistance chauffante CS Dimension - jpeg
Les armoires électriques et les boîtiers optimaux ne sont pas créés à la chaîne, mais en discutant avec vous. Vous êtes prêt ?
Alors, parlez-en tout de suite à votre conseiller personnel häwa.
 
